X-ZL06 텐션로드셀
XJC
,
계측센서
,
로드셀
,
텐션로드셀
Product Details
X-ZL06 시리즈 텐션 센서
- 간편한 설치및 다양한 설치모드
- 측정 신호는 롤 위의 소재의 위치에 영향을 받지않음
- 과부하 방지 보호구조 내장
- 온도 편차가 적고 선형 오차와 반복성이 좋음
- SLIM 사이즈로 설치가 용이
- M12X1 콘넥터
고객의 샤프트 및 롤러 어셈블리와 결합하여 텐션 센서를 기계 벽 패널 내부 또는 기계 벽 패널 외부에
설치할 수 있습니다. 고객은 별도의 롤러 설계없이 롤러 샤프트를 텐션센서에 삽입하기만 하면 롤러에
감긴 소재의 장력을 감지할 수 있습니다.
종이, 라벨, 테이프, 베터리극판, 고성능 필름등 폭이 좁은 재료의 가공 시 재료의 장력을 측정하고
제어하는데 사용할 수 있습니다.
센서의 감지 신호는 롤러에 감긴 소재 위치에 영향을 받지 않습니다.
| 사양 |
| 출력신호 | 1.0±0.2mV/V | 비선형성 | 0.2% F.S. |
| 반복성 | 0.1%F.S. | 영점 출력 | ±2% F.S. |
| 사용 온도 범위 | -20 ~ 80°C | 온도 보상 범위 | -10 ~ 40°C |
| 영점 온도 변화 | 0.02% F.S/°C | 절연 저항 | ≥2000MΩ/100VDC |
| 인가 전압 | 5~10V DC | 최대 과부하 | 300%F.S |
| 케이블 사양 | Ø5 x 5m | 보호 등급 | IP63 |
| 설치방법 |

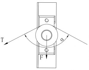
| 하중계산 |
F = 2T X cos(α/2) + G
* T - 장력 α - 소재 각도 ( 30˚≤α≤180˚ ) F - 센서하중 G - 롤러자중
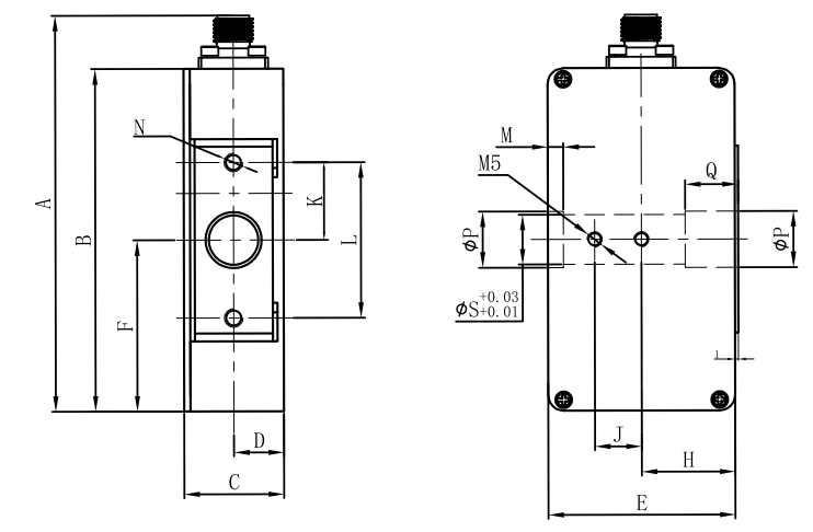
| 외형치수 |

| 모델코드표 |

| 모델 |
최대하중 |
외형치수 | ||||||||||||||
| A | B | C | D | E | F | H | J | K | L | M | N | P | Q | S | ||
| X-ZL06-A-5 | 5 | 132 | 113 | 31 | 15.5 | 54.6 | 41.4 | 25.4 | 19 | 25.4 | 50.8 | 3.8 | 1/4-20 DP9 |
22.4 | 15 | 15.9 |
| X-ZL06-A-10 | 10 | |||||||||||||||
| X-ZL06-A-15 | 15 | |||||||||||||||
| X-ZL06-A-25 | 25 | |||||||||||||||
| X-ZL06-A-50 | 50 | |||||||||||||||
| X-ZL06-B-2.5 | 2.5 | 126 | 104 | 31 | 15.5 | 56 | 55 | 25.5 | 19 | 25 | 50 | 5 | M6 DP12 |
18 | 15.5 | 15 |
| X-ZL06-B-5 | 5 | |||||||||||||||
| X-ZL06-B-10 | 10 | |||||||||||||||
| X-ZL06-B-20 | 20 | 156 | 134 | 44 | 22 | 62 | 70 | 31.5 | 19 | 35 | 70 | 5 | M10 DP12 |
30 | 15.5 | 25 |
| X-ZL06-B-30 | 30 | |||||||||||||||
| X-ZL06-B-50 | 50 | |||||||||||||||
2020-01-01 00:19:00
조회 14268