제품소개
Komein2024-11-19T21:15:48+09:00
X-3A-D50-H17-B
XJC
,
계측센서
,
로드셀
,
다축로드셀
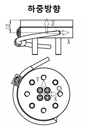
3축로드셀
Fx : 250N
Fz : 250N
다축로드셀/3축로드셀
- 빠른 응답 속도

- 저항 스트레인 게이지 방식으로 높은 정밀도
- 자체 보상 스트레인 게이지로 우수한 온도 특성
- 분리형 구조, 미세한 장기 누화(crosstalk) 오류, 뛰어난 장기 안정성
| 비선형성 |
≤0.5%F.S. |
반복성 |
≤0.1%F.S. |
| 제로밸런스 |
±5%F.S. |
작동 온도 범위 |
-20~80°C |
| 인가전압 |
5-10 VDC |
절연 저항 |
≥2000MΩ/50VDC |
| 보호등급 |
IP63 |
최대 과부하 |
200%F.S. |
| 장기 크로스토크오류 |
≤3%F.S. |
| 케이블 |
Ø3X4m |
*제품의 사양은 성능 개선을 위해 예고 없이 변경 될 수 있습니다.
| Capacity |
Fx |
Fy |
Fz |
Material |
| 250N |
250N |
250N |
Stainless steel |
| Rated output |
0.5-1.5 mV/V |
| Cable color code |
| Power |
Exc+ : Red |
Exc- : Black |
| X Signal |
Sig+ : Green |
Sig- : White |
| Y Signal |
Sig+ : Blue |
Sig- : Yellow |
| Z Signal |
Sig- : Brown |
Sig- : Gray |
2020-01-01 00:16:00
조회 1534
error: Content is protected !!